进入三季度以来,市场增加多起债券违约。
7月24日,江苏宏图高科技股份有限公司(下称“宏图高科”)发布公告称,2017年第一期中期票据“17宏图高科MTN001”不能按期足额偿付本息,已构成实质性违约,这是宏图高科今年第2只违约债券,也是本月以来的第16只违约债券。截至目前,7月违约债券涉及金额超过90亿元。
关于债券违约的原因,接受第一财经记者采访的多位业内人士表示,主要是在去杠杆背景下,信用收缩,前期过度进行债务扩张的企业风险因此暴露;另外,此前银行业风险事件带来的流动性结构问题给企业融资带来新挑战。整体而言,在债券市场打破刚兑的背景下,债券市场的信用风险溢价正在被重新定价。
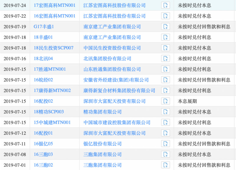
7月债市违约案例
近期债市再现多起违约,先是7月初,三胞集团回售到期的一期交易所公募债“16三胞02”出现违约,再是上周一连8只民企债违约,规模合计约65亿元;最近的则是7月24日宏图高科技6亿元中期票据违约。
上述违约债券中,康得新复合材料集团股份有限公司(简称“康得新”)、山东胜通集团股份有限公司(简称“山东胜通”)、中国城市建设控股集团有限公司(简称“中城建”)等发行主体均有多只债券违约。截至目前,康得新共有4只债券实质违约,违约余额35亿元;山东胜通共有9只债券实质违约,违约债券余额55.5亿元;中城建共有8只债券实质违约,违约债券余额136.5亿元。
其中,康得新首次出现违约是在今年1月15日,公司发布公告称未能按照约定偿付2018年度第一期超短期融资券本息10.4亿元,这也是今年上市公司出现的首单债券违约。

(资料来源:Wind资讯)
与上述几家企业不同的是,安徽省外经建设(集团)有限公司和精功集团有限公司均为首次出现违约 。7月15日,评级机构东方金诚公告称未收到“16皖经02”偿付资金落实情况以及本息兑付凭证的回复,将其主体信用等级由BB下调至C;同样是在当天,精功集团旗下精功科技也发布公告称,由于资金出现流动性困难,短期融资券“18精功SCP003”未能按期足额偿付本息,构成实质性违约。
关于债券违约的原因,海通证券首席经济学家姜超分析称,在去年去杠杆的大背景下,那些前期通过加杠杆的方式过度融资进行扩张的企业,当去杠杆的监管来临,自然会出现种种问题。
东方金城国际信用评估有限公司评级总监刚猛在2019年债券年会上也表示,一些企业扩张动力较强,盲目多元化发展,治理结构不够完善,加上行业专业性较弱,因此较容易引发财务风险。他说,“在大的经济环境变化的情况下,前期过度扩张的企业信用风险早就埋下,后期如果出现流动性问题,风险就会集中爆发”。
值得注意的是,流动性的结构性问题也可能会给企业未来的融资带来新的挑战。“在前期银行风险事件的影响下,未来中小银行的信用供给会可能会出现收缩,将对民营企业融资造成影响。”光大证券固收首席分析师张旭对第一财经记者表示,“进一步讲,前期融资过于激进的、业务过于多元化的主体,暴露出风险的概率将更高。”
机构投资更加谨慎
债市打破刚兑后,市场投资者对于信用债的投资行为变得更加谨慎。“从另一个角度来讲,这也是对市场的敬畏。毕竟,这个市场从来就不是一个无风险的市场,市场就要给风险定出它的价格。”一位债券市场资深人士称。“从去年年中开始就严格限制了对低评级债券的配置,新增拿券的很少,能不拿就不拿,存量的目前还有一些,等它自然到期。”一位公募从业人员对记者说,“拿的券基本上是AAA级别的”。
与此同时,近期非银机构开始排查违约风险、结构化融资等问题。“这个是我们现阶段工作的重心,也是难题。主要还是根据交易所、交易商协会、发改委等监管机构的要求,结合公司内部要求开展排查。”某大型券商风险管理部人士告诉记者。
就目前来说,市场上债券违约情况不时发生成为一种新常态。“我觉得现在算是尾部出清,只是这尾部有点长,未来可能会加快出清速度。”上述公募从业人员对记者表示。据Wind数据统计显示,今年以来共有96只信用债发生违约,违约金额约718亿元。
一位债市从业人员对第一财经记者说,那些诚实守信经营的企业,违约尚可以接受;但对违规融资、信披不实的企业,应当保持高压和强监管,有助于重新定义市场的信用风险溢价。
面对当前债券市场的情况,中央结算公司总经理陈刚明在债券年会上表示,可加快引入安全、高效的流动性风险管理工具,尽快推出中央债券借贷机制,降低结算失败风险;同时,持续完善担保品管理机制,进一步发挥债券担保品作为市场“流动性中枢”和“风险管理中枢”的功能,并完善信息披露制度。
上述债券市场从业人员则称可“综合治理”:一是择机降息,并疏通市场的传导渠道;二是加快合理出清,可相应拉长去杠杆时间;三是创新并购工具,允许优质企业兼并有前景的弱质企业,促进资产重组和资源再配置。
企业信用利差出现分化
在一些企业的风险逐渐暴露之下,银行在放贷或者提供发债融资方面显得更为谨慎。“贷款还是要放的,不过风控方面更加严格了,基本上针对的是2A+及以上的企业,这是一个准入门槛,同时结合企业的现金流以及还款来源等。”一家华南地区中小银行的金融市场部负责人告诉第一财经记者。
有的企业若整体表现不佳,则面临着无法足额续贷甚至是不能贷款的可能。据记者了解,有很多银行适当提高了企业融资的审核标准,不仅包括信用评级方面,也包括企业经营情况、负债情况等。其中,行业发展状况被列为重要参考标准之一。“会考虑这个企业所处的行业是否是国家支持的,像高新技术行业、新材料、新能源、环保节能技术、高级制造业等,相对来说,被接受度更高点。”一家银行对公业务部经理对记者表示。另外,作为一些中小民企重要资金来源的供应链金融近日放款有所放缓,这主要是由于银保监会此前出台了《中国银保监会办公厅关于推动供应链金融服务实体经济的指导意见》(下称《意见》)。
《意见》发布后,银行正在加强相关项目贸易背景真实性的核查,因此放款暂缓。“主要还是具体项目具体分析,比如一些长期合作的企业,银行对它的经营状况都比较了解,所以不会受太大影响。”一位国有商业银行江浙地区分行的管理人员说。
风控趋严一定程度上影响了企业的融资进程,特别是资质差的企业。据Wind数据统计,今年以来共有253只信用债推迟或发行失败,涉及金额2013.26亿元。
中诚信国际总裁周浩此前表示,自去年以来,不同资质的企业信用利差呈现分化状态,民营企业信用利差中位数水平持续维持在300bp以上。
除了银行方面更加审慎之外,评级机构也在规范自身的评级行为。债券违约之后,有责任“提示信用风险”的信用评级机构通常会受到质疑。刚猛在2019年债券年会上透露,“我们自己也做了很多检讨,如跟踪评级比较落后、前瞻性不足、信息获取分析不够到位、评级质量控制不严、合规监管不严、评级模型使用不严谨等。”针对这些问题,评级机构正在根据监管要求做出改正。刚猛称,目前公司正在加强系统建设,比如和金融科技结合起来,用IT技术来规范评级行为,让评级更合规。

北京市丰台区丽泽路24号院平安幸福中心A座45-47层
86-10-62299800
DFJCPX@coamc.com.cn

